Малая и микрогидроэнергетика. Домен продается

по покупке домена пишите запрос на Leo2@mail.ru

Мини ГЭС своими руками

Две из таких, приемлемых для постройки своими силами гидроэлектростанции: Микро ГЭС своими руками и Плавучая бесплотинная мини ГЭС . На очереди — конструкции, прообразом которых послужила свободнопоточная (образца 1964 года) гирляндная ГЭС В. Блинова.

Гидроэлектростанции, о которых пойдет речь, свободнопоточные, с довольно-таки оригинальной турбиной из так называемых роторов Савониуса, нанизанных на общий (может быть и гибким, составным) рабочий вал. Плотин и прочих крупномасштабных гидротехнических сооружений для своей установки они не требуют. Способны работать с полной отдачей даже на мелководье, что в сочетании с простотой, компактностью и надёжностью конструкции делают эти ГЭС весьма перспективными для тех фермеров и садоводов, чьи участки земли расположены вблизи небольших водотоков (речек, ручьёв и канавок).

В отличие от плотинных свободнопоточные гидроэнергетические установки, как известно, используют только кинетическую энергию текущей воды. Для определения мощности здесь существует формула:

N=0,5*p*V3*F*n (1),

где:

— N — мощность на рабочем валу (Вт),
— р — плотность воды (1000 кт/м3),
— V — скорость течения реки (м/с),
— F — площадь сечения активной (погружаемой) части рабочего органа гидромашины (м2),
— n — КПД преобразования энергии.

Как видно из формулы 1, при скорости реки 1 м/с на один квадратный метр сечения активной части гидромашины приходится в идеале (когда n=1) мощность, равная всего 500 Вт. Эта величина явно мала для промышленного использования, но вполне достаточна для подсобного хозяйства фермера или дачника. Тем более что её можно нарастить путём параллельной работы нескольких «гидроэнергогирлянд».

И ещё одна тонкость. Скорость реки на разных её участках различна. А потому, прежде чем начать строительство миниГЭС, необходимо определить энергетический потенциал вашей реки по простой методике, изложенной в этой статье>>>. Напомним лишь, что дистанция, пройденная измерительным поплавком и поделённая на время его прохождения, будет соответствовать средней скорости потока на данном участке. Следует также отметить: параметр этот в зависимости от времени года будет меняться.

Поэтому расчёт конструкции следует производить, руководствуясь средней (за планируемый период эксплуатации миниГЭС) скоростью течения реки.

Рис.1. Роторы Савониуса для самодельных гирляндных миниГЭС:

а, б — лопасти; 1 — поперечный, 2 — торцевой.

Далее необходимо определить размер активном части гидромашины и её тип. Так как вся миниГЭС должна быть максимально простой и несложном в изготовлении, наиболее подходящим типом преобразователя является ротор Савониуса торцевой конструкции. При работе с полным погружением в воду величину F можно принять равной произведению диаметра ротора D на его длину L, а n=0,5. Частоту же вращения f с приемлемой для практики точностью определяют по формуле:

f=48V/3,14D (об/мин) (2).

Чтобы сделать гидроэнергоустановку наиболее компактном, мощность, задаваемую при расчёте, следует соотнести с реальной нагрузкой, электропитание котором должна обеспечить миниГЭС (так как в отличие от ветродвигателя ток в сеть потребителя здесь будет выдаваться непрерывно). Как правило, эта электроэнергия идёт на освещение, питание телевизора, радио, холодильника. Причём только последний включается в работу в течение суток постоянно. Остальные же электроприборы работают главным образом вечером. Исходя из этого, целесообразно ориентироваться на максимальную мощность от одной «гидроэнергогирлянды» порядка 250-300 Вт, покрывая пиковую нагрузку при помощи аккумуляторной батареи, заряжаемой от миниГЭС.

Передача крутящего момента от рабочего вала гидроэнергоустановки на шкив электрогенератора осуществляется обычно при помощи промежуточной трансмиссии. Впрочем, этот элемент, строго говоря, может быть исключён, если используемый в конструкции микроГЭС генератор имеет рабочую скорость вращения менее 750 об/мин. Однако от связи напрямую приходится часто отказываться. Ведь для подавляющего большинства генераторов отечественного производства рабочая скорость вращения при начале «выдачи» мощности лежит в пределах 1500-3000 об/мин. Значит, нужно дополнительное согласование валов гидроэнергоустановки и электрического генератора.

Ну а теперь, когда предварительная теоретическая часть позади, рассмотрим конкретные конструкции, У каждой из них свои достоинства.

Вот, например, полустационарная свободнопоточная миниГЭС с горизонтальным расположением двух соосных, развёрнутых относительно друг друга на 90° (для облегчения самозапуска) и жёстко связанных роторов Савониуса поперечного типа. Причём основные детали и узлы этой самодельной гидроэнергетической установки — из дерева как наиболее доступного и «послушною» строительного материала.

Предлагаемая миниГЭС — погружная. То есть опорная рама её располагается поперёк водотока на дне и укрепляется тросами-растяжками или шестами (если рядом, например, имеются мостки, лодочный причал и т.п.). Делается это для того, чтобы избежать уноса конструкции самим водотоком.

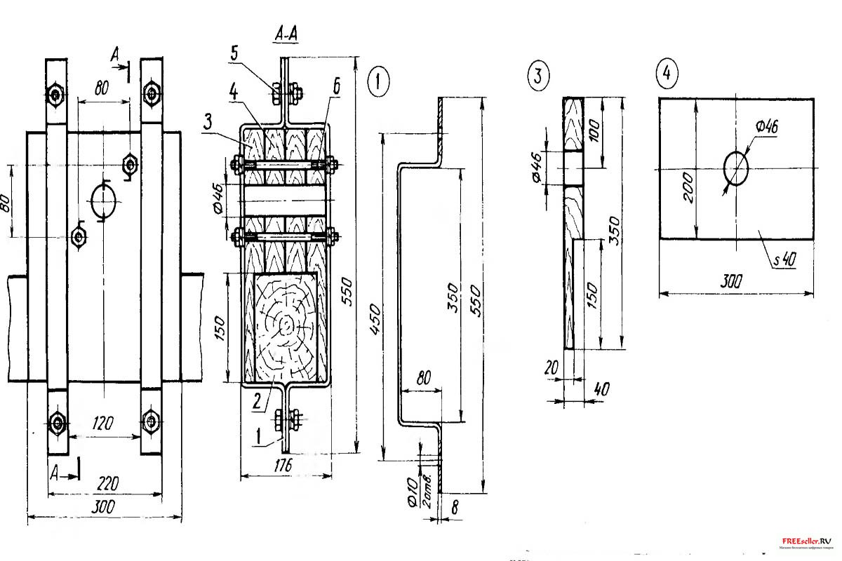
Рис.2. Погружная мини ГЭС с горизонтальным расположением роторов поперечного типа:
1 — лонжерон-основание (брус 150×100, 2 шт.), 2 — поперечина нижняя (доска 150×45, 2 шт.), 3 — поперечина средняя (брус 150х120, 2 шт.), 4 — стояк (кругляк диаметром 100, 4 шт.), 5 лонжерон верхний (доска 150×45, 2 шт.), 6 — поперечина верхняя (доска 100×40, 4 шт.), 7 — вал промежуточный (нержавеющая сталь, пруток диаметром 30), 8 — блок шкивов, 9 — генератор постоянного тока, 10 — «гусак» с фарфоровым роликом и двужильным изолированным проводом, 11 — плита-основание (доска 200×40), 12 — шкив ведущий, 13 — узел деревянного подшипника (2 шт.), 14 — ротор «гидроэнергогирлянды» (D600, L1000, 2 шт.), 15 диск (из сбитых в щит досок толщиной 20-40 мм, 3 шт.); металлические элементы крепления (включая растяжки, ступицы крайних дисков) условно не показаны.

Разумеется, что глубина реки в месте установки мини ГЭС должна быть меньше высоты опорной рамы. В противном случае весьма трудно (а то и невозможно) избежать попадания воды в электрический генератор. Ну а если место, где предполагается разместить мини ГЭС, имеет глубину более 1,5 м или там сильно меняющиеся в течение года полноводность и скорость течения (что, кстати, достаточно типично для водотоков со снеговым питанием), то данную конструкцию рекомендуется оснастить поплавками. Это позволит также легко перемещать её при установке на реке.

Опорная рама мини ГЭС представляет собой прямоугольный каркас из бруса, досок и небольших брёвен, скреплённых гвоздями и проволокой (тросами). Металлические части конструкции (гвозди, болты, хомуты, уголки и т.д.) должны быть по возможности из нержавеющей стали или других коррозионностойких сплавов.

Ну а поскольку эксплуатация подобной мини ГЭС зачастую возможна в условиях России только сезонная (из-за замерзания большинства рек), то по истечении срока работы вся вытащенная на берег конструкция подлежит тщательному осмотру. Своевременно меняют подгнившие деревянные элементы, заржавевшие, несмотря на принятые меры предосторожности, металлические детали.

Одним из главных узлов нашей миниГЭС является «гидроэнергетическая гирлянда» из двух жёстко закреплённых (и составляющих единое целое на рабочем валу) роторов. Их диски легко выполнить из досок толщиной 20-30 мм. Для этого, составив из них щит, при помощи циркуля строят окружность диаметром 600 мм. После чего каждую из досок обрезают согласно получившейся на ней кривой. Сбив заготовки воедино на двух планках (чтобы придать требуемую жёсткость), повторяют все трижды — по числу требуемых дисков.

Что касается лопастей, то их целесообразно сделать из кровельного железа. А лучше — из подходящих по размеру и разрезанных пополам (вдоль оси) цилиндрических нержавеющих ёмкостей (бочек), в которых обычно хранят и перевозят сельхоз удобрения, другие агрессивные материалы. В крайнем случае лопасти можно сделать и деревянными. Но вес их (особенно после длительного пребывания в воде) сильно возрастет. И об этом следует помнить при создании миниГЭС на поплавках.

На торцах «гидроэнергогирлянды» крепятся шиповые опоры. По сути, это короткие цилиндры с широким фланцем и торцевым пазом для шпонки. Фланец крепится к соответствующему диску ротора на четырёх болтах.

Для снижения трения предусмотрены подшипники, располагающиеся на средних поперечинах. А так как обычные шариковые или роликовые подшипники для работы в воде непригодны, используются… самодельные деревянные. Конструкция каждого из них состоит из двух хомутов и дощечек-вкладышей с отверстием для прохода шиповой опоры. Причём средние вкладыши подшипника располагают так, чтобы волокна древесины здесь шли параллельно валу. Кроме того, принимают особые меры, чтобы дощечки-вкладыши были жёстко зафиксированы от боковых смещений. Делают это при помощи стягивающих болтов.

Рис.3. Подшипник скольжения в сборе:
1 — скоба обжимная (Ст3, полоса 50×8, 4 шт.), 2 — поперечина рамы средняя, 3 — вкладыш-обжимка (из твёрдых пород дерева, 2 шт.), 4 вкладыш сменный (из твёрдых пород дерева, 2 шт.), 5 — болт М10 с гайкой и шайбой Гровера (4 компл.), 6 — шпилька М8 с двумя гайками и шайбами (2 шт.).

В качестве электрогенератора в рассматриваемой микроГЭС используется любой из автомобильных. Выдают они 12-14 В постоянного тока и без труда стыкуются как с аккумуляторной батареей, так и электроприборами. Мощность у этих машин около 300 Вт.

Вполне приемлема для самостоятельного изготовления и конструкция переносной мини ГЭС с вертикальной компоновкой «гирлянды» и генератора. Такая гидростанция, по мнению автора разработки, наименее материалоёмка. Опорной конструкцией установки, фиксирующей её положение в русле реки, является стальной пустотелый стержень (например, из отрезков трубы). Длину его выбирают, исходя из характера дна водотока и скорости течения. Причём такой, чтобы острый конец стержня, вбитый в дно, гарантировал бы устойчивость миниГЭС и несрываемость её течением. Возможно и дополнительное использование растяжек.
Определив по формуле (1) активную поверхность ротора и замерив глубину реки в месте установки мини ГЭС, легко рассчитать диаметр используемых здесь роторов Савониуса. Чтобы сделать конструкцию простой и самозапускающейся, целесообразно выполнить «гидроэнергогирлянду» из двух роторов, соединённых так, чтобы лопатки первого были на 90° смещены относительно второго (по оси вращения). Причём для повышения эффективности работы конструкция со стороны набегающего потока оборудована щитком, играющим роль направляющего аппарата. Ну а рабочий вал крепится в подшипниках скольжения верхней и нижней опор. В принципе при коротком времени эксплуатации мини ГЭС (например, в туристическом походе) можно использовать и шарикоподшипники большого диаметра. Однако при наличии в воде песка или ила после каждого использования узлы эти придётся промывать в чистой воде.

Рис. 4. Мини ГЭС с вертикальным расположением роторов торцевого типа:
1 — штанга-опора, 2 — узел нижнего подшипника, 3 -диск «гидроэнергогирлянды» (3 шт.), 4 — ротор (D600, 2 шт.), 5 — узел верхнего подшипника, 6 — вал рабочий, 7 — трансмиссия, 8 — электрогенератор, 9 — «гусак» с фарфоровым роликом и двужильным изолированным проводом, 10 — хомут крепления генератора, 11 — подвижный щиток-направляющая; а, б — лопасти: растяжки на верхнем конце штанги-опоры условно не показаны.

Крепление опор к стержню болтовое и сварное, в зависимости от веса «гидроэнергогирлянды» и необходимости её разборки на части. Верхний конец рабочего вала гидромашины одновременно является и входным валом мультипликатора, в качестве которого (как наиболее простой и технологичный) может быть применён ременный.

Электрогенератор берётся опять-таки автомобильный. К стержню опоры его легко прикрепить хомутом. А сами провода, идущие от генератора, должны иметь надёжную гидроизоляцию. На иллюстрациях точные геометрические пропорции промежуточной трансмиссии условно не показаны, так как зависят от параметров конкретного, имеющегося у вас генератора. Ну а ремни для трансмиссии можно изготовить из старой автомобильной камеры, разрезав её на ленты шириной 20 мм с последующей скруткой в жгуты.

Для электроснабжения малых деревень подойдет гирляндная миниГЭС конструкции В.Блинова, представляющая не что иное, как цепочку бочкообразных роторов Савониуса диаметром 300-400 мм, закреплённых на гибком тросе, протянутом поперёк реки. Один конец троса крепится к шарнирной опоре, а другой через простейший мультипликатор к валу генератора. При скорости течения 1,5-2,0 м/с цепочка роторов делает до 90 об/мин. А малые размеры элементов «гидроэнергогирлянды» позволяют эксплуатировать эту микроГЭС на реках с глубиной менее одного метра.

Надо сказать, что В.Блинову до 1964 года удалось создать несколько переносных и стационарных мини ГЭС своей конструкции, крупнейшей из которых была ГЭС, сооружённая у деревни Порожки (Тверская область). Пара гирлянд здесь приводила во вращение два стандартных автотракторных генератора общей мощностью 3,5 кВт.

МК 10 1997 И. Докунин

pvp • 01.02.2020


Previous Post

Next Post

Добавить комментарий

Your email address will not be published / Required fields are marked *

Малая и микрогидроэнергетика. Домен продается